欢迎光临 : 上海闵邦电力科技有限公司 官网!
邮箱:245589194@qq.com 服务热线:15067800862

|
概述 Summary 1、FN3-12、FN3-12R、FN3-12R/S负荷开关系户内装置的高压电器。适用于交流50Hz、6KV或12KV的网络中,作为开断和闭合负荷及过荷电流之用,亦可用作开断和闭合空载长线。空载变压器及电容之开关。带有RN3型熔断型的负荷开关(FN3-12、FN3-12R/S)可切断路器,作保护开关之用。 2、本负荷开关可配用CS3型及CS2型手动操作机构进行操作。 1、FN3-12、FN3-12R、FN3-12R/S Series are used in the network of AC 50Hz、6KV or 12KV for breaking or closing load and over-load current. they are also used in breaking and closing no-loading . The switch or no-load transformer and capacitor with KN3 type fuse box. Can cut off short-circuit for protecting switch. 2、They can be equipped with CS3 type and CS2 type handle operating mechanism. |
||||||||||||||||||||||||||||||||||||||||||||||||||||||||
|
工作条件 Serviec Condition
1、海拔不超过1000米;
2、周围空气温度不高于+40oC及不低于-10oC; 3、空气相对湿度不大于90%的户内场(当温度为+25); 4、无导电性尘埃的环境中; 5、无破坏金属和绝缘的腐蚀性气体的物体; 6、无剧烈震动和冲击的地方; 7、无燃烧与爆炸危险的环境中。
1 、The altitude does not exceed 1000m.
2、The ambient air temperatrue : Max:+40oC. Min:-10oC. 3、The relatire humidity of air not bigger 90% (temperature:25oC) 4、The working situation have no conductivity dust. 5、The working situation have no corrosive gas of effect insulation anddestroy metal. 6、The working situation without violent vibration and striking. 7、The working situation have no explosive danger and fire. |
||||||||||||||||||||||||||||||||||||||||||||||||||||||||
|
技术参数 Technical parameter
|
||||||||||||||||||||||||||||||||||||||||||||||||||||||||
|
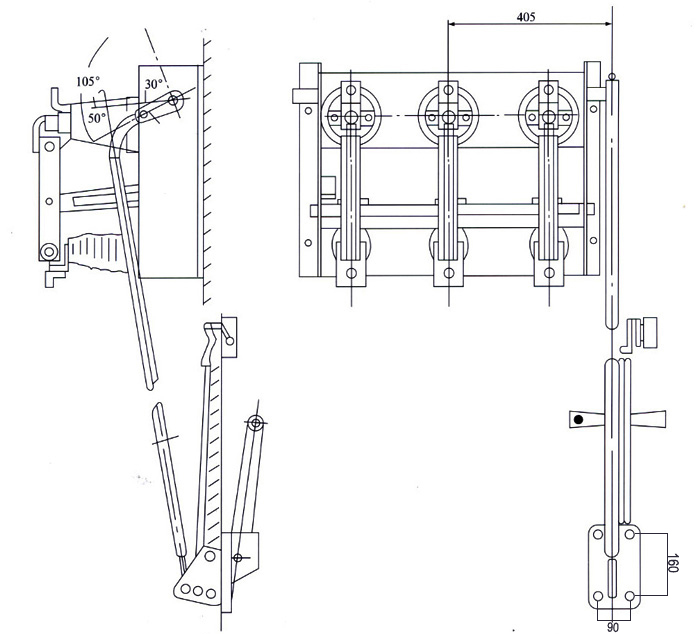
外形图 Appearance diagram
|
||||||||||||||||||||||||||||||||||||||||||||||||||||||||
|
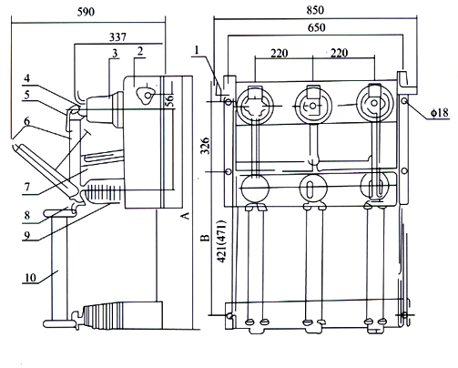
安装图 Installation diagram
|